Categories
-
Plugs & Stoppers
-
Tapered Rubber Plugs -
Blanking Plugs -
Ventilation Plugs -
Fir Tree Plugs -
Snap Fit Bushes -
Liquid Tight Plugs -
Threaded Plugs -
Threaded Sealing Plugs -
Reversible Tapered Plugs -
Washer Masking Plugs -
Silicone Tapered Plugs -
Silicone Ribbed Plugs -
Silicone Plugs With Handle -
Silicone Step Plugs -
Silicone Pull Plugs -
Silicone Thread Masking Plugs -
Barrel Plugs -
Cylindrical Pull Tab Plugs -
Finned Pull Tab Plugs -
Round Tube Plugs -
Snap Fit Hole Plugs -
Ribbed Pipe End Plugs -
Door Stoppers -
Finned Hole Plugs -
Silicone Double Flange Plugs -
Silicone Flange Plugs -
Silicone Washer Plugs -
Plastic End Plugs -
Stainless Steel Socket Pipe Plugs DIN 906
-
-
Furniture & Chair Feet
-
Adjustable Feet
-
Slotted Head Adjustable Feet -
Rubber Adjustable Feet -
Stainless Steel Adjustable Feet -
Ready To Install Sets -
One Piece Adjustable Feet -
General Adjustable Feet -
Low Profile Adjustable Feet -
Machinery Mounting Feet -
Weight Rated Articulated Feet -
Heavy Duty Tilting Feet -
Tilting Adjustable Feet -
Metal Adjustable Feet -
Economic Adjustable Feet -
Allen Key Adjustable Feet -
Anti-Vibration Levelling Feet -
Balance Feet -
Polyamide Adjustable Feet -
Pozi Base Adjustable Feet -
Hexagon Base Feet -
Threaded Fittings & Fixings
-
-
Cable Management
-
Cable Glands -
Strain Relief -
Rubber Grommets -
Blanking Plugs -
Cable Ties -
Cable Clips -
Cable Tie Mounts -
Velcro Cable Management -
Aluminium Cable Clips -
Braided Cable Sleeving -
Multi Cable Clips -
PVC Cable Sleeving -
Spiral Cable Wrap -
Heat Shrink Sleeves -
PVC Electrical Insulation Tape -
Plastic Grommet Strips -
Adhesive Lined Heatshrink -
Heat Shrink Caps -
Nylon P Clips -
Nylon P Clamps -
Rubber Grommet Strips -
Desk Cable Tidies
-
-
Bolts and Screws
-
Hex Head Screws and Bolts -
Cap Screws -
Countersunk Screws -
Button Screws -
Pan Head Machine Screws -
Cheese Head Slotted Screws -
Security Fasteners -
Truss Head Screws -
Self Tapping Screws -
Wood Screws -
Screws for Plastic -
Knurled Fasteners -
Shoulder Bolts -
Grub Screws -
Threaded Rod (All Thread) -
Weld Studs -
Number Plate Screws -
Nylon Screws & Bolts -
Stainless Steel Bolts By Metric Thread Size -
Small Bolts -
Large Bolts -
Industrial Hardware
-
-
Washers
-
Rubber Washers -
Nylon Washers -
PTFE Washers -
Silicone Washers -
Stainless Steel Flat Washers -
Stainless Steel Spring Washers -
Stainless Steel Curved Washers -
Stainless Steel Serrated Washers -
Stainless Steel Tab Washers -
Stainless Steel Finishing Washers -
Bonded Sealing Washers -
Brass Washers -
Titanium Washers -
Copper Washers -
Aluminium Washers -
Polycarbonate Washers -
Red Fibre Washers -
Peek Washers -
EPDM WRAS Washers -
Fibre WRAS Washers -
FKM Washers -
WRAS Washers -
Anti-Loss Washers -
Finishing Washers -
Headboard Washers -
Saddle Washers -
Square Washers
-
-
Industrial Hardware
-
Hinges -
Camlocks -
Latches -
Detent Pins -
Index Plungers -
Clamping Handles -
Bridge Handles -
Pull Handles -
Threaded Handwheels -
Wing Screws & Knobs -
Knurled Thumbscrews -
Ball Knobs -
Control Handwheels -
Metal Brackets -
Door Bolts -
Furniture Fixings -
Adjustable Feet -
Plastic & Rubber Grips -
Roof Support Systems -
Push Fit Knobs -
Edging Strips
-
-
Adhesive Tapes
-
PTFE Tape -
Packing Tape -
Fragile Tape -
Cloth Tape -
PVC Electrical Insulation Tape -
Floor Marking Tape -
Safety Hazard Warning Tape -
Underground Cable Warning Tape -
Non Slip Tape -
Non-Adhesive Barrier Tape -
Double Sided Foam Tape -
UV Resistant Blue Masking Tape -
High Temp Crepe Tape -
Low Tack Paper Masking Tape -
Aluminium Foil Tape -
Self Amalgamating PVC Tape -
Self Amalgamating Silicone Tape -
Self Amalgamating EPR Tape -
Fleece Tape -
Matte Cloth Tape -
Glass Cloth Tape -
Red Polyester Tape -
Amber Polyimide Tape -
Green Polyester Tape -
Blue Polyester Tape -
Anti Static Polyimide Tape
-
-
School & Office Products
-
Rubber Seals
Business Services
| Quantity |
Unit Price
(ex. VAT)
|
Unit Price
(inc. VAT)
|
|---|---|---|
| 0 - 1 | £2.16 | £2.59 |
| 2 - 50 | £2.16 | £2.59 |
| 51 - 100 | £1.99 | £2.39 |
| 101 - 250 | £1.83 | £2.20 |
| 251 - 500 | £1.68 | £2.02 |
| 501 + | £1.55 | £1.86 |
Product Stock
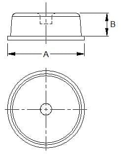
| Product Specifications | SOF088 |
|---|---|
| Base Diameter | 45.7mm |
| Height | 15.8mm |
| Style | 10 |
| Colour | Black |
| Material | Polyurethane |
Same Day Dispatch Available
Order by 4pm (UK) for same day dispatch (Monday – Thursday, 2pm Friday). Next Day or Standard Delivery available via DHL or Royal Mail.
Frequently Bought Together
- Material ABS
- Colour Silver/Black
- Hole Diameter 80mm
- Head Diameter 96mm
- Length 19mm
- Base Diameter 24mm
- Base Height 9.8mm
- Material Zinc Plated Steel
- Colour Black & Self-colour
- Shape Round
- Base Diameter 20mm
- Base Height 6mm
- Material Rubber
- Colour Black
- Nail Length 15mm
Total Price: £0.00
Product Description
45.7mm x 15.8mm- Stick on Feet - Black - Polyurethane | Vital Parts - SOF088
Our Self-Adhesive Rubber Bumper Feet provide a simple yet highly effective solution for enhancing grip, stability and surface protection. Manufactured from durable Polyurethane (PU) Rubber and paired with a strong self-adhesive backing, these bumper feet ensure quick and secure installation. They are commonly used as anti-slip feet for small appliances, furniture and glass surfaces, preventing unwanted movement and protecting delicate surfaces from scratches and impact.
Key Features
- Base Diameter : 45.7mm
- Height : 15.8mm
- Durable Polyurethane Construction: High-quality PU rubber ensures longevity and resilience.
- Strong Self-Adhesive Backing: Provides a secure and easy-to-apply stick-on solution.
- Anti-Slip Properties: Improves grip and stability on various surfaces.
- Versatile Applications: Suitable for use as feet, bumpers, or surface protectors.
- Multiple Styles and Sizes: Available in ten different designs, with sizes up to 45mm.
Applications
Self-Adhesive Bumper Feet are widely used for various applications, including:
- Appliance Feet: Prevents small appliances from shifting or damaging surfaces.
- Furniture Protection: Acts as a buffer for tables, chairs and cabinets to prevent scratches.
- Glass Surface Stabilization: Commonly used on glass tables to prevent slipping.
- Electronic Devices: Protects laptops, speakers and consoles from surface damage.
- Shock Absorption: Reduces noise and impact when used as bumpers or stoppers.
Custom Self-Adhesive Bumper Feet
We offer a variety of styles, shapes and colours, including clear and black options.
Benefits
- Quick and Easy Installation: Stick-on design allows for hassle-free application in seconds.
- Non-Marking Protection: Prevents scratches and marks on delicate surfaces.
- Strong Adhesive Grip: Ensures a long-lasting and secure hold.
- Versatile Use: Ideal for home, office and industrial applications.
Whether you need protective bumpers, anti-slip feet, or surface guards, our Stick on Feet offer an excellent solution for vibration isolation and surface protection. If you need assistance selecting the right size or would like to discuss custom options, contact our expert team at 01233 713581.
Related Products
| Code | Base Diameter | Style | Material | Colour | Height | Stock | |
|---|---|---|---|---|---|---|---|
| SOF082 | 22.3mm | 4 | Polyurethane | Clear | 10.1mm |
Checking...
|
|
| SOF083 | 25.4mm | 6 | Polyurethane | Clear | 4.7mm |
Checking...
|
|
| SOF084 | 25.4mm | 6 | Polyurethane | Black | 4.7mm |
Checking...
|
|
| SOF085 | 31.5mm | 3 | Polyurethane | Clear | 2.5mm |
Checking...
|
|
| SOF086 | 31.5mm | 3 | Polyurethane | Black | 2.5mm |
Checking...
|
|
| SOF087 | 45.7mm | 10 | Polyurethane | Clear | 15.8mm |
Checking...
|
|
Fri 8.30 am - 3.30 pm